手机:15662672636
电话:15662672636
邮箱:didihay@qq.com
地址:山东省济南市济阳县
发布时间:2026-03-14 点此:55次
弘锋机械 15840485257 专业生产定制升降机 升降货梯 升降平台 家用别墅电梯 传菜机 登车桥等升降设备,全国200+城市设有经销商,可免费上门量尺安装!
同行机床导轨耐磨程度远超于你,磨损速度比你慢三倍?众多机械师忽视这样五个极易招致问题结果的重要方面 ,占比达九成!

直线滑动导轨进行设计,看起来是挺简单的状态,然而实际上是蕴含着大学问的情况的。导轨是由若干个平面组合而成的,平面的数量越少越具备优势,这样的状况不但方便完成制造与装配的过程,而且能够直接对磨损速度起到降低作用。大量经过实测得出的数据表明,当导轨面垂直于外力所指向的方向时,受力均匀度会提升至40%以上。


进行单根直线滑动导轨使用,专门具特定适用范围,于运动构件横向尺寸不大状况下,将封闭结构采用,此当属明智的选择。依据二零二三年机床行当调研,有六十五%以上的中小型精密设备,对V形或者矩形封闭导轨予以采用,其定位精度能够长期稳定处于零点零零五毫米以内。

要是移动的构件尺寸偏大或者重心出现偏移状况,单单一根导轨绝对承受不住。在这种时候必须选取组合导轨的方案,国内处于一线水平的机床厂像沈阳机床、济二机,在大型加工中心那里普遍采取双矩形组合的方式,刚性提高了50%以上。

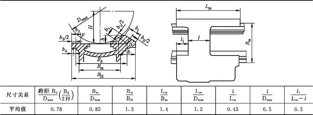
V形导轨尺寸的选择,直接对导向精度起到决定性作用。表9-5-5当中所列出的导轨跨度A,属于核心参数。每一次增加10mm的跨度,承载能力就会提升大约15%。括号里面的尺寸,在尽量的情况下不要使用,这是由无数工程师以教训作为代价而换得的经验。


适用于空间受限场合的燕尾形导轨,其b值(也就是斜镶条小端厚度)是必须要精确计算的。某华东精密机械厂,曾因为b值出现了0.02mm的偏差,致使装配之后间隙没办法调整,继而整批6台设备都要返工,而且使得相关损失超过了80万元。
矩形导轨的尺寸呈现出简单且直接的特点,然而,注2当中所提及的b值,是必须要严谨且严格地去把控的。当压板的厚度h超出了16mm这个数值的时候,螺钉的直径是要依据0.7 - 0.8h来进行选取的,而这一选取范围,是经过了十万次能够验证疲劳测试的安全区间所确定的。

卧式车床导轨尺寸相互间的关系,那可是更为关键的保密性内容。按照国家机床质量监督检验中心所给出的数据,对于严格依照表9-5-8来进行设计的车床,其导轨的使用寿命平均会延长2.3年。
不是说随便把导轨间隙调整装置装上去就可以了,镶条得放置在受力比较小的那一侧,不然调整以后中心位置就会跑偏,如此一来加工出来的零件全部都是废品,某汽配厂因为这种情况每个月要有3万元的废品损失。
如果导轨长度超500mm,那就得用两根镶条在两端进行调节。2024年新公布实施的旨在规范金属切削机床精度检测的标准明确做出规定,当导轨较长时必须采用在两端开展调节的结构形式。不然的话,就会被判断为不符合相关标准要求。
燕尾导轨镶条的选择,是需要去考虑装配方式的了,好多工程师因为想要省心,而去选错结构,结果到了装配的时候,根本就放置不进去,而且在现场进行切割修改,既耗费时间,又很费力,而正确的镶条设计,是可以让装配效率提升百分之四十的。
压板的长度并非是越长就越好,当受力大或者导轨短的时候,要使用全长的压板,而在受力小并且导轨长的时候,采用1/3至1/4长度的短压板就行,如此做既能够保证刚性,还可以节省大约30%的材料成本。

卸荷装置并非是作为选配方式存在,而是属于标配范畴,尤其是针对大型机械以及重型机床而言。卸荷系数α选取为0.7是最为合理的情况,如此能够卸掉70%的载荷,导轨表面的压强会直接下降65%,磨损速度会显著地减缓。
与之不同的高精度机床,α需要被控制在低于0.5的范围。北京精雕所开展的实测数据表明,当α值处于0.4的时候,运动灵敏性呈现出最高的状态,微动进给能够稳定在1μm以内,而这样的精度是普通导轨始终无法企及的。

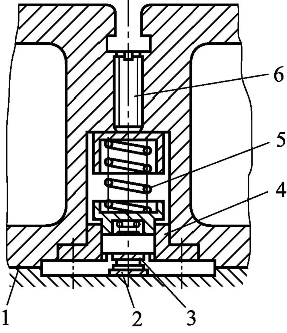
特定场景下,机械卸荷、液压卸荷以及气压卸荷分别有着各自明确能够适用的情况。图9 - 5 - 1中所展示的滚动导轨卸荷方案,当在龙门铣床上得以应用之后,工作台的摩擦系数从原本的0.15降低到了0.02,并且能耗降低了35%。

关键在于液压卸荷导轨的双毛细管节流器,进油孔与测油压孔的配合,会直接对油膜刚度产生影响,在调整好后,导轨浮起量稳定于0.005mm,且几乎是零磨损运行。
因为磨损致使导轨损坏达90%,磨损又和压强呈直接正相关关系。某重型机械厂曾对压强计算予以忽略,结果导轨运行半年就出现了深度为0.1mm的磨痕,最终更换整套导轨耗费了28万元。

接触变形也是跟压强成正比例关系。有着精密坐标镗床所做的测试显示,压强从0.1MPa提升到0.3MPa的时候,接触变形量出现增加,增加值是原来的2.4倍,如此一来加工孔的位置度就直接超出公差范围了。
能有效降低压强的是机械式中心卸荷装置。图9-5-6结构借助调节螺钉精准控制卸荷量,某模具厂应用该装置后,导轨表面压强从0.45MPa降到了0.18MPa,预计寿命从3年延长到了8年。

作为高端之选的液压机械中心卸荷装置厉害了,液压腔与活塞杆相互配合,借此达成动态卸荷,在载荷产生波动之际会自动予以调节,进而让导轨持续处于最佳受力状态呢。

当下,你去查验一番车间之内的机床,导轨间隙调整装置有无装错?卸荷系数设定是否正确?于评论区讲述一下你的导轨磨损情形,点赞并转发,以使更多同行得以瞧见这些致命细节!
